By Slit / Slot (mesh size)
Up to 20 μm (up to 0.02 mm)
Finecular
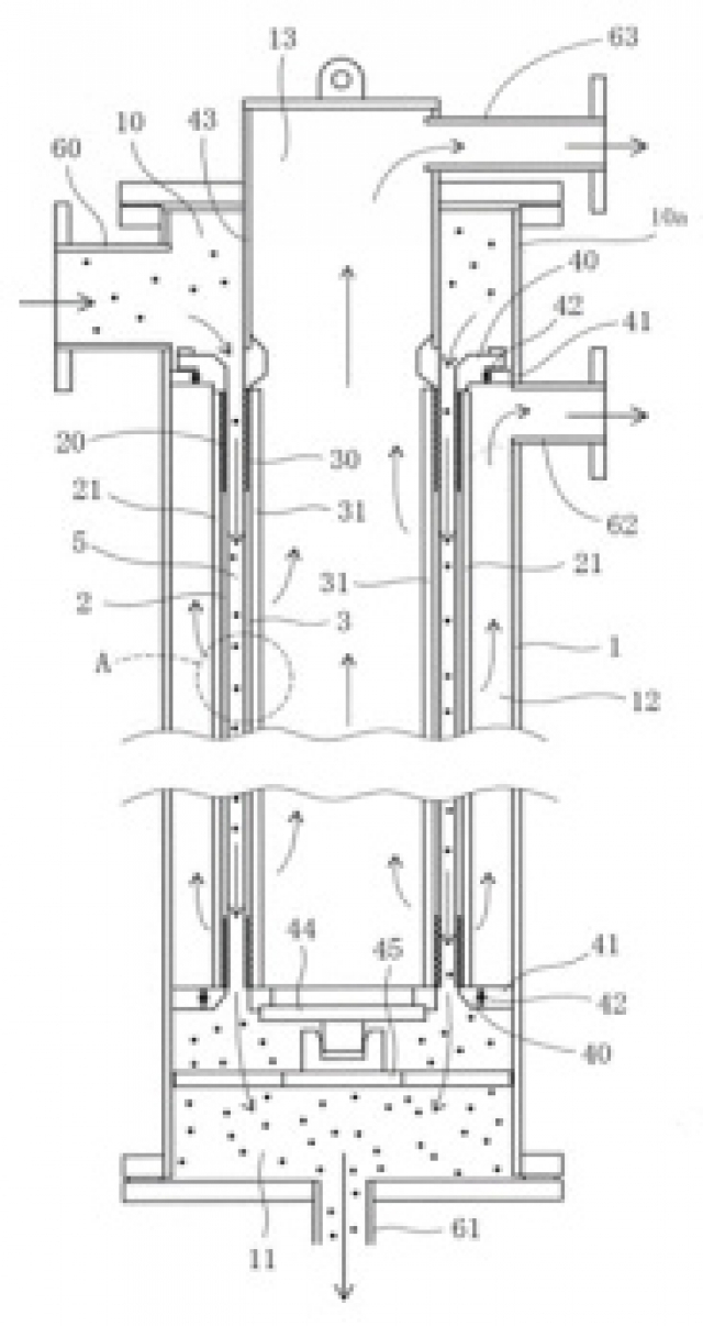
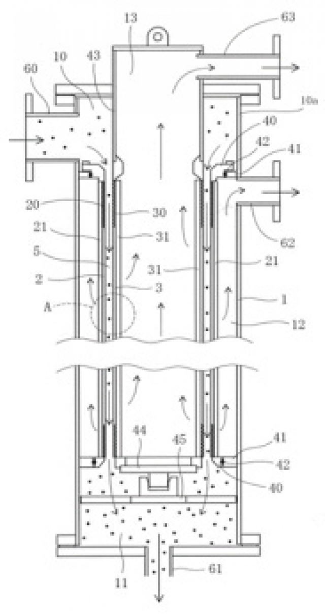
Using a combination of inner cylinder and outer cylinder, Fine WedgeR constitutes a double cylinder, enabling it to perform concentration while slurry flows at a high flow velocity.
It supports fine apertures of minimum 10 μm.
Structure
Principle of Inertial Filtration
Filters while the fluid crosses the slit row composed of wires with triangle shape.
Particles are less prone to clogging due to inertial forces, as the amount of material deposited on the surface of the screen is reduced, and high filtration performance can be maintained.
Features
Fine wedge strainers are adopted for the outer and inner cylinders, and the stock solution flows between them at high flow velocity
Utilizing the characteristics of inertial filtration, realization of a strainer that is resistant to clogging for long periods without backwashing
Finecular is used in a closed circulating filtration system to prevent contamination of foreign matter, evaporation, scattering, odors, etc.
Main Applications
・ Removal of fine particles in chemical factory wastewater
・ Intake of freshwater and seawater
・ Circulation reuse of flush water
・ Product concentration process
Contact
Please wait while the form appears.
If the form does not appear after some time, we apologize for the inconvenience. Please contact us .




