目的・用途から探す
ろ過(固体サイズ:~100μm)
ファインキュラー
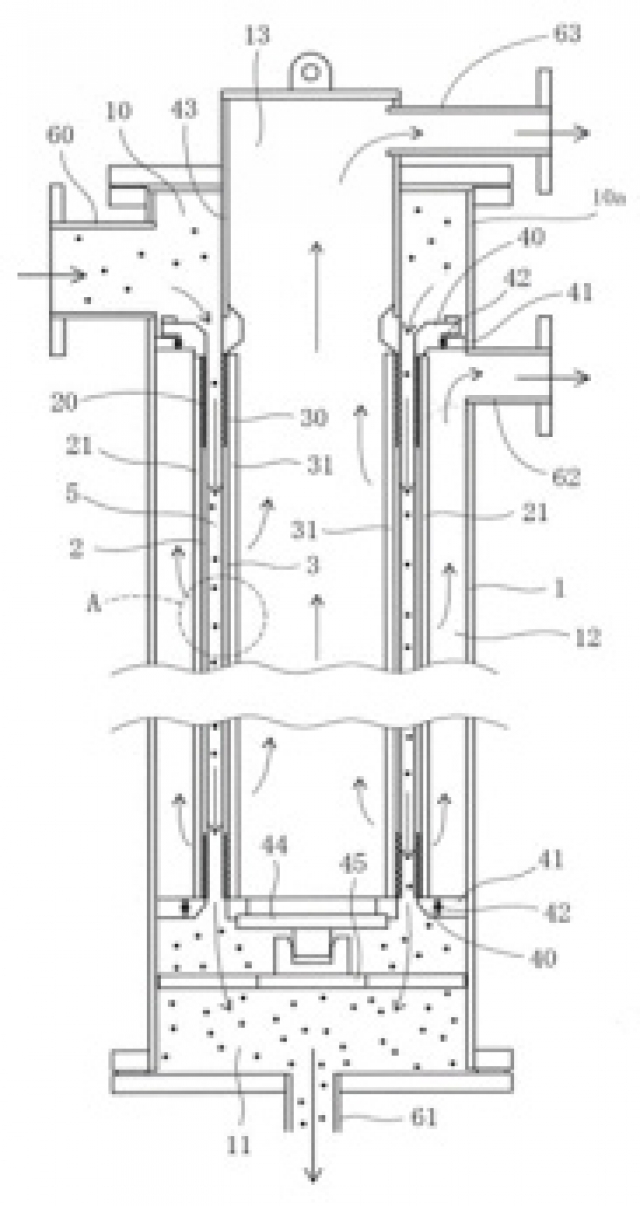
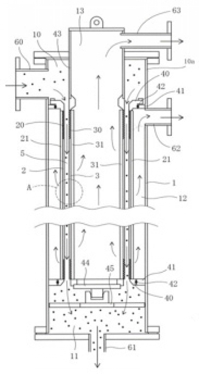
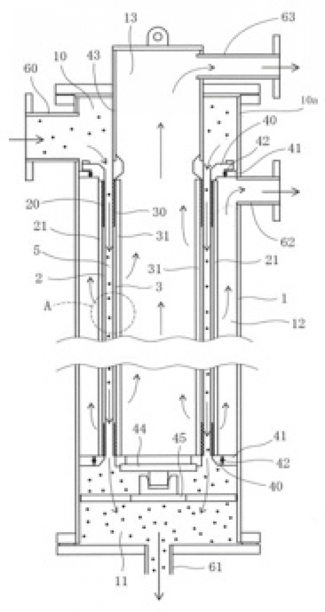
慣性ろ過の原理を利用して微細目でも長時間目詰まりしにくいストレーナーを実現しました。
ファインウェッジ®の内筒と外筒の組み合わせで、二重円筒を構成し、その隙間をスラリーが高流速で流れる間に濃縮を行うことができます。
最小10µmの微細目まで対応しています。
ファインウェッジ®の内筒と外筒の組み合わせで、二重円筒を構成し、その隙間をスラリーが高流速で流れる間に濃縮を行うことができます。
最小10µmの微細目まで対応しています。
〔製品資料をダウンロード〕
構造図
慣性ろ過の原理
逆三角形断面のワイヤーが構成するスリット列を流体が横切る間にろ過します。
粒子は慣性力により、スクリーン表面に堆積される物量が少なくなるため目詰まりしにくくなり、高いろ過性能を維持することができます。
ファインキュラーの特徴
外筒と内筒にファインウェッジストレーナーを採用、この間隙を原液が高流速で流下
慣性ろ過の特性を活用、逆洗なしで長時間、目詰まりしにくいストレーナーを実現
閉ループで循環ろ過し、異物混入、蒸発、飛散、異臭等を防止
ウェッジワイヤー対応目開き
10µm~50µm
処理量(参考)
29 m3/h(原液)
主な用途
・化学工場排水中の微細粒子の除去
・淡水、海水の取水用
・洗浄水の循環再利用
・製品の濃縮工程
お問い合わせ
フォームが表示されるまでしばらくお待ち下さい。
恐れ入りますが、しばらくお待ちいただいてもフォームが表示されない場合は、 までお問い合わせください。





